爱科技、爱创意、爱折腾、爱极致,我们都是技术控
您需要 登录 才可以下载或查看,没有账号?立即注册
x
11月24日消息,很长一段时间以来,网上关于三星Galaxy S11的消息就层出不穷,近日据外媒summobile报道,即将到来的Galaxy S11将采用五倍长焦相机,而三星或将为其提供光学防抖。

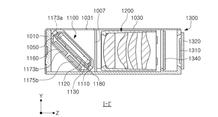
三星自2003年开始研究制造相机模组,目前它已经为旗下常规的2倍长焦光学变焦镜头配备了光学防抖,但是5倍长焦由于体积和技术等原因,一直没有在光学防抖方面取得进展,但是,从最近三星像专利局提交的专利申请来看,它们已经解决了这个问题。据文件显示,三星似乎想通过潜望式镜头来降低模组厚度,将传感器和镜头侧向放置,并采用了潜望镜反射光的原理,使远摄镜头可以与细长的机身齐平放置,模块不会从背面突出,从而实现光学防抖。但是它是否一定会应用到Galaxy S11上还是个未知数。

此外,Galaxy S11的相机代号为“哈勃”,与哈勃望远镜同名,是否也意味着三星Galaxy S11将会在长焦方面给大众带来惊喜呢?

特别提醒:本文来源互联网,目的在于传递更多信息,如有冒犯联系清删
|