数码之家

 找回密码
 立即注册

QQ登录

只需一步,快速开始

微信登录

微信扫一扫,快速登录

搜索
查看: 782|回复: 0

[概念] 索尼新专利:通过动作捕捉帮助玩家保持健康的游戏姿势

[复制链接]
发表于 2023-3-10 22:40:13 | 显示全部楼层 |阅读模式

爱科技、爱创意、爱折腾、爱极致,我们都是技术控

您需要 登录 才可以下载或查看,没有账号?立即注册 微信登录

x
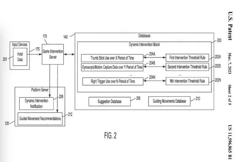
根据国外科技媒体 Appuals 报道,索尼互动娱乐近期获得了一项技术专利,通过动作捕捉玩家在游戏时的状态,及时提醒玩家保持健康的姿势。
图源 The ‘Gamer Lean’
IT之家翻译专利摘要如下:“游戏干预服务,可基于学习模型、玩家姿势、肢体动作来评估玩家是否存在不平衡的身体姿势,在识别并检测到超过预设的不健康状况阈值可以发出提醒”。
动作捕捉主要依靠手柄上的传感器,来推断玩家正在使用重复动作或表现出不良姿势。身体的重复运动或不正确的姿势可能损害玩家身体,像“玩家手”(gamer’s thumb)就是由于拇指肌腱反复拉伤造成的,可能导致炎症、疼痛和活动受限。

您需要登录后才可以回帖 登录 | 立即注册 微信登录

本版积分规则

APP|手机版|小黑屋|关于我们|联系我们|法律条款|技术知识分享平台

闽公网安备35020502000485号

闽ICP备2021002735号-2

GMT+8, 2025-12-14 21:42 , Processed in 0.124800 second(s), 12 queries , Gzip On, Redis On.

Powered by Discuz!

© 2006-2025 MyDigit.Net

快速回复 返回顶部 返回列表