爱科技、爱创意、爱折腾、爱极致,我们都是技术控
您需要 登录 才可以下载或查看,没有账号?立即注册
x
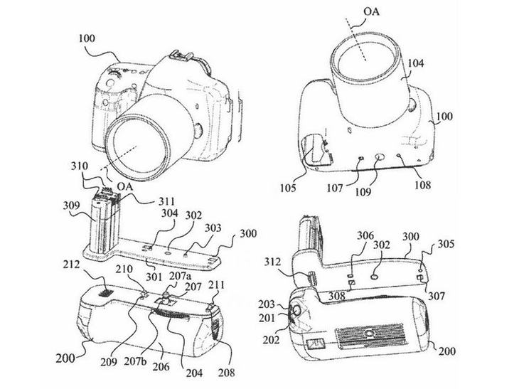
近日,佳能公布了一款,根据专利显示,这是一款各个机型都通用的电池手柄,手柄分为两个部分,连接相机适配器以及电池仓,二者是分离的,当需要给不同机型使用时只需要更换连接相机部分的适配器即可快速在不同机型之间切换,似乎既方便又可以帮助剩下不少钱。 
从设计图样来看,通用手柄分为转接器及手柄(电池箱)两部分。前者相信仍会针对对应机身而作出专属设计,而电池箱部分则为不同型号通用。由于不同型号的机身大小难免有少许分别,可以预计,在通用设计下,手柄也许会比机身大或小一点,观感上可能比度身订造的专用设计稍差。此外,通用设计的直度手柄也可能出现平衡感较差的问题。 

不过目前还没有迹象显示佳能会在短期内推出这款产品。但对于拥有多款佳能机身的用家来说,通用手柄设计似乎也有一定益处。
特别提醒:本文来源互联网,目的在于传递更多信息,如有冒犯联系清删
|