数码之家

 找回密码
 立即注册

QQ登录

只需一步,快速开始

微信登录

微信扫一扫,快速登录

搜索
查看: 757|回复: 1

[产品] 苹果Apple Watch新专利曝光:可通过电池震动来提供触觉反馈

[复制链接]
发表于 2021-1-29 19:34:55 | 显示全部楼层 |阅读模式

爱科技、爱创意、爱折腾、爱极致,我们都是技术控

您需要 登录 才可以下载或查看,没有账号?立即注册 微信登录

x

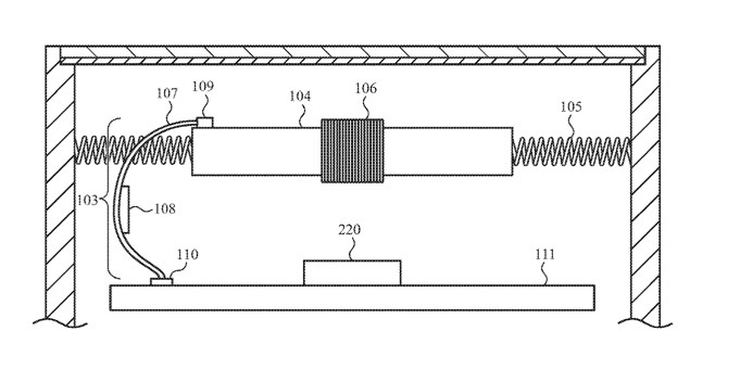
据外媒 appleinsider 报道,苹果正在研究如何使 Apple Watch 的电池移动,以便向佩戴者提供触觉反馈。


  苹果最新公布了一份 “带有移动电池元件的触觉设备的便携式电子设备”专利,专利申请说:

  一般来说,电子设备包括一个或多个用于提供输入的按钮或机电开关。某些设备包括用于接收输入的触摸传感器或触摸屏。但是,触摸传感器通常缺乏机械反馈来警告用户输入已经被响应。

  本专利针对一种触觉设备,能够移动其电池元件以便沿着设备的外表面产生触觉上可感知的脉冲或振动。


  从专利图中可以看出,该专利利用电池在弹簧之间的震动来制造触觉反馈,目前尚不清楚该方法是否能达到 Apple Watch 所要求的触觉反馈级别。

  IT之家了解到,目前的 Apple Watch 是采用 Taptic Engine(触觉引擎)来实现触觉反馈,需要占用很大一部分空间,如果能由电池震动来替代,那么将有望增大电池容量,继而提升续航时间。



发表于 2021-1-29 19:55:03 | 显示全部楼层
游客请登录后查看回复内容
回复 支持 反对

使用道具 举报

您需要登录后才可以回帖 登录 | 立即注册 微信登录

本版积分规则

APP|手机版|小黑屋|关于我们|联系我们|法律条款|技术知识分享平台

闽公网安备35020502000485号

闽ICP备2021002735号-2

GMT+8, 2025-12-26 14:46 , Processed in 0.358801 second(s), 10 queries , Gzip On, Redis On.

Powered by Discuz!

© 2006-2025 MyDigit.Net

快速回复 返回顶部 返回列表