数码之家

 找回密码
 立即注册

QQ登录

只需一步,快速开始

微信登录

微信扫一扫,快速登录

搜索
查看: 240|回复: 0

[概念] 三星专利探索 XR 头显未来:多样化互动方式,打造极致沉浸体验

[复制链接]
发表于 2024-11-12 23:10:41 | 显示全部楼层 |阅读模式

爱科技、爱创意、爱折腾、爱极致,我们都是技术控

您需要 登录 才可以下载或查看,没有账号?立即注册 微信登录

x
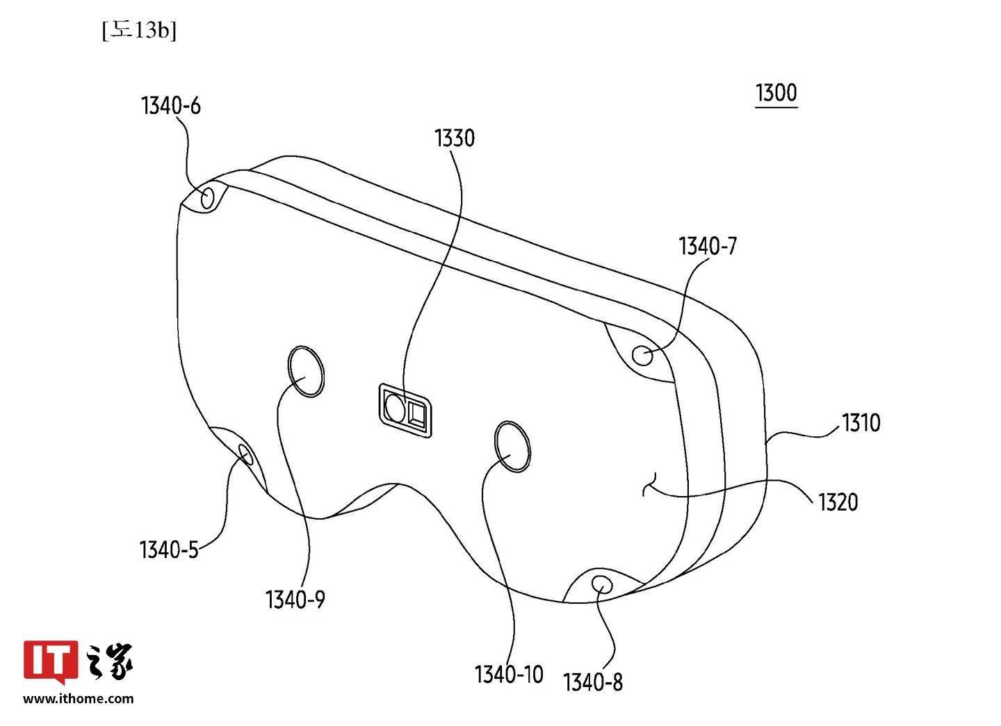
根据世界知识产权组织(WIPO)于 11 月 7 日公示的清单,三星获得了一项 XR 头显相关的专利,暗示了未来的头显设计。
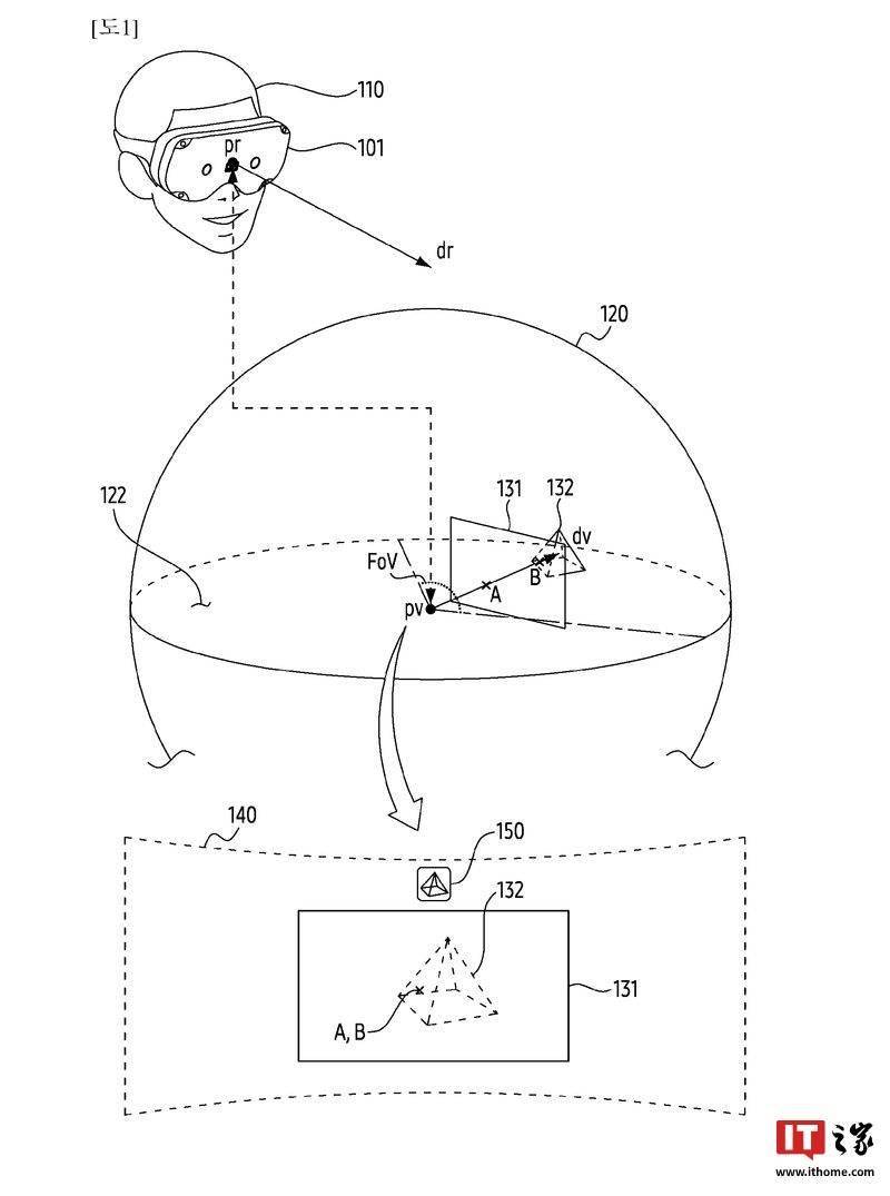
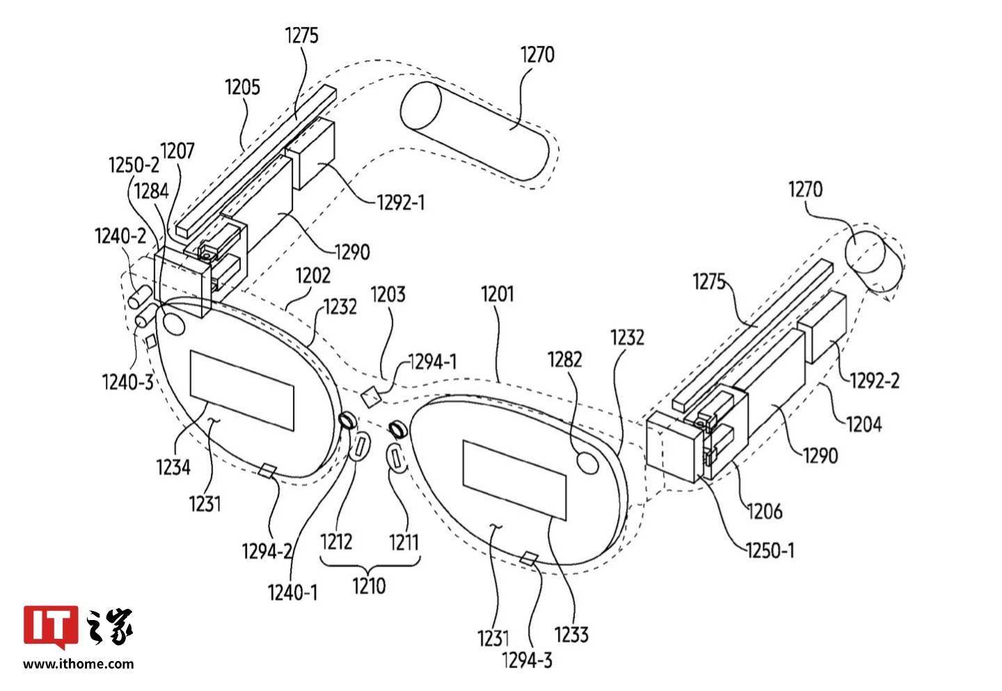
专利描述该产品为“AR 眼镜或者 HMD 头显设备”,用户可以通过该设备看到真实物体和现实世界,并利用虚拟空间中的参考点进行导航和操作。
IT之家援引专利描述,用户可以触摸或选择虚拟图像进行互动。用户界面将包含按钮、菜单、文本框、图标、图像和视频等虚拟视觉元素;设备将配备操作系统,类似于苹果的 VisionOS 和 Meta 的 Horizon OS。
尽管显示类型尚未确认,但专利表示设备内部将包含处理器、内存、传感器等组件,以执行各种任务和渲染视觉效果。
该设备可能支持 5G、6G、蓝牙等多种连接方式。除了显示屏外,可能还会有扬声器作为输出设备。
输入方式包括控制器、手势识别、语音控制等,用户将通过视觉提示了解物体是否在视野范围内。

您需要登录后才可以回帖 登录 | 立即注册 微信登录

本版积分规则

APP|手机版|小黑屋|关于我们|联系我们|法律条款|技术知识分享平台

闽公网安备35020502000485号

闽ICP备2021002735号-2

GMT+8, 2026-4-11 20:43 , Processed in 0.234001 second(s), 11 queries , Gzip On, Redis On.

Powered by Discuz!

© MyDigit.Net Since 2006

快速回复 返回顶部 返回列表