数码之家

 找回密码
 立即注册

QQ登录

只需一步,快速开始

微信登录

微信扫一扫,快速登录

搜索
查看: 13|回复: 0

[概念] 苹果屏下Touch ID专利获批,iPhone Fold折叠手机有望首发

[复制链接]
发表于 昨天 21:01 | 显示全部楼层 |阅读模式

爱科技、爱创意、爱折腾、爱极致,我们都是技术控

您需要 登录 才可以下载或查看,没有账号?立即注册 微信登录

x
科技媒体 Appleinsider 昨日(2 月 10 日)发布博文,报道称苹果公司获批名为《具有局部亮度调节功能的显示器》专利,暗示其正探索屏下指纹识别技术,应用范围将覆盖 iPhone Fold、iPad 及 Mac 电脑。
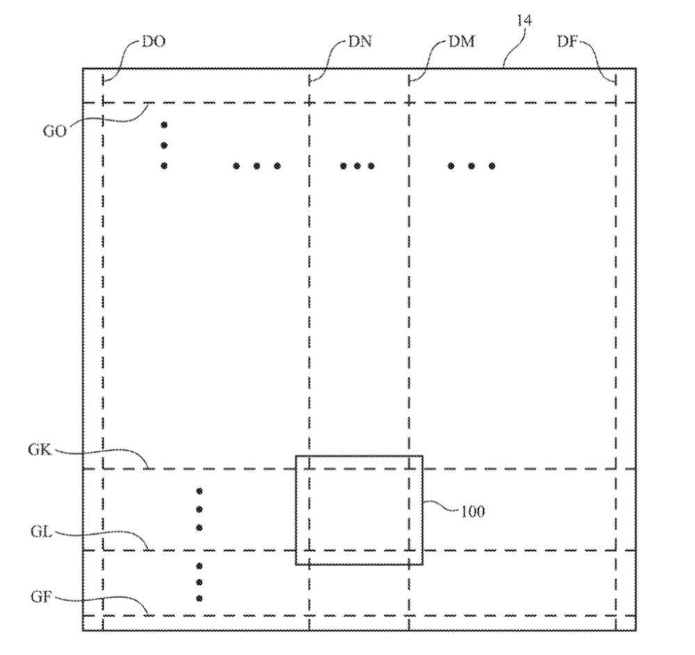
IT之家援引专利描述,其核心在于通过控制电路,指挥显示屏上的特定像素子集发光。在用户手指触摸屏幕后,这些像素会像相机的闪光灯一样照亮指纹,反射的光线随后穿过屏幕内的透明窗口,被下方的光传感器阵列捕获。这种闪光仅局限于指纹接触区域,屏幕的其它部分仍能正常显示内容。
这项技术可能会率先应用于苹果首款折叠手机 iPhone Fold 上,由于折叠屏机身设计极薄,可能无法容纳 Face ID 组件,因此 Touch ID 成为必选项。
尽管此前有爆料称 iPhone Fold 将效仿 iPad Air 4 采用侧边电源键指纹解锁,但这项专利表明,苹果仍在积极储备屏下指纹技术。
该专利于 2025 年 1 月提交申请,且苹果在同年 7 月还申请了 Mac 面部识别专利,这表明苹果正同步推进研发多种生物识别方案。

您需要登录后才可以回帖 登录 | 立即注册 微信登录

本版积分规则

APP|手机版|小黑屋|关于我们|联系我们|法律条款|技术知识分享平台

闽公网安备35020502000485号

闽ICP备2021002735号-2

GMT+8, 2026-2-12 09:26 , Processed in 0.187200 second(s), 9 queries , Gzip On, Redis On.

Powered by Discuz!

© 2006-2026 MyDigit.Net

快速回复 返回顶部 返回列表