数码之家

 找回密码
 立即注册

QQ登录

只需一步,快速开始

微信登录

微信扫一扫,快速登录

搜索
查看: 909|回复: 0

[科技] 新专利显示苹果正在研究隐藏iPad和iPhone天线缝隙的技术

[复制链接]
发表于 2021-1-20 18:10:46 | 显示全部楼层 |阅读模式

爱科技、爱创意、爱折腾、爱极致,我们都是技术控

您需要 登录 才可以下载或查看,没有账号?立即注册 微信登录

x

本文来自cnBeta

  未来的iPhone和手机iPad可能会有新的技术来隐藏外壳的天线缝隙。iPhone和iPad的设计问题之一是生产出能够有效处理电磁波的版本,即移动设备内部的天线所产生和接收的信号。让天线能够发挥其作用,意味着要么使用材料的方式来防止信号的阻挡,要么通过外壳与外界有一定的开口。

  设计容纳天线是很困难的,以iPad为例,外壳的后部是一块金属,既不能提供通过孔或缝隙的通道,也不能在使用材料上尽量减少对天线信号的影响。解决这个问题的一个方法是使用两部分外壳,在天线周围引入一个间隙,让信号通过。然而这样的概念可能会带来其他设计问题,例如消除了单一无缝外壳的外观,削弱了整体结构。苹果iPad设计的演变就是一个例子。根据不同的变体,背壳可以由单一的材料制成,而2020年iPad的插卡型号在顶部有一个明显不同的部分。

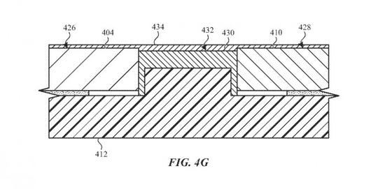
  在美国专利和商标局周二授予苹果的一项名为 “具有连续填充表面的多部件电子设备外壳 ”的专利中,苹果提出它可以创造一种外壳,提供两部分外壳的电磁优势,但生产方式使其看起来像一个单一的部分。苹果的外壳理念涉及三个要素,即主外壳的大部分有一个需要填充的空隙部分,第二个外壳部分来填充该部分。简而言之,苹果建议可以在连接点处沉积一层油墨,将其完全遮盖住。

  虽然主外壳可以继续用金属制成,但第二部分可以是不妨碍电磁波的非导电部件,如致密塑料。第二外壳部分有可能由多层制成,包括为外观或结构目的而选择的外层。另一种变化是有一个额外的插入物,可以装在主外壳和第二外壳部件之间。在两个元件之间的内侧耦合,该插件可以保持间隙的存在,同时将两个部分保持在一起,并且可以用一种更允许无线电传输的材料制成。

  不管是哪种结构,苹果都建议使用两层油墨覆盖接头。使用两层油墨是为了确保覆盖层能完全隐藏接缝。第一层油墨是为了填充和均匀两个组件之间的接缝,作为填充层。一旦应用和固化,并从外壳上去除不需要的部分以使一切平坦,则沉积第二层油墨以隐藏接缝本身。苹果公司每周都会提交大量的专利申请,但虽然专利申请的存在表明了苹果公司研发工作感兴趣的领域,但并不能保证该想法会出现在未来的产品或服务中。







您需要登录后才可以回帖 登录 | 立即注册 微信登录

本版积分规则

APP|手机版|小黑屋|关于我们|联系我们|法律条款|技术知识分享平台

闽公网安备35020502000485号

闽ICP备2021002735号-2

GMT+8, 2025-12-28 18:09 , Processed in 0.202800 second(s), 9 queries , Gzip On, Redis On.

Powered by Discuz!

© 2006-2025 MyDigit.Net

快速回复 返回顶部 返回列表